深圳公司注册领先品牌——欢迎访问前海百丰
全国服务热线:
400-803-0990
官方微信
扫码咨询
法律声明
前海百丰
售后无忧
贴心服务
费用透明
专业团队
网站首页
企业服务中心
热门
公司注册
深圳公司注册
前海公司注册
香港公司注册
海南公司注册
外资公司注册
财税服务
代理记账
税收筹划
公司变更
公司名称变更
公司地址变更
公司法人变更
公司股东变更
经营范围变更
注册资本变更
公司注销
深圳公司注销
深圳个体户注销
特色服务
前海地址挂靠
百丰商秘地址
医生集团设立
旅行社设立
知识产权
商标注册
版权申请
申请一般纳税人
一般纳税人
小规模纳税人
公司异常
公司异常解除
公司异常解锁
深圳公司注册
前海公司注册
公司变更
公司注销
知识库
问答社区
关于百丰
公司简介
发展历程
服务板块
联系我们
您的当前位置:
前海百丰
>
知识库
>
商标注册
>
滴滴关联公司申请“石榴出行”商标
新闻来源:未知
编辑:
前海百丰
更新时间:
2020-11-18 14:32
点击:
次
字号:
小
中
大
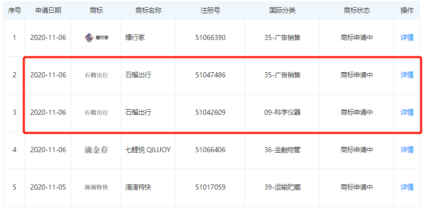
近日,滴滴关联公司北京嘀嘀无限科技发展有限公司申请
“石榴出行”商标,申请日期为11月6日,国际分类涉及广告销售和科学仪器,商标状态为“
商标申请
中”。
TAG标签:
手机端:
滴滴关联公司申请“石榴出行”商标
上一篇:
美团关联公司申请“美团拼拼”等商标
下一篇:
腾讯申请“微信豆”商标
热门关键词
一般纳税筹划流程
深圳营业执照地址变更
深圳注册一人公司
注销营销执照,业执照会不
深圳公司股权变更
深圳代办注销多少钱
财税
前期
知名
支出
烟草
深圳公司注册服务
拆迁
无法
德州
老师
创业者
报告
注册公司流程
范围
高新技术
海南自贸区注册公司
助理
翰林
分部
餐饮
经理
专利
改革
深圳记账报税
热门文章
华为关联公司申请注册“P50”、“P60”、
腾讯关联公司申请“作业君”相关商标
顺丰关联公司申请“小黑充电”商标
知乎关联公司申请“知乎小蓝盒”商标
B站关联公司申请“生活如沸”商标
携程关联公司申请“程付通”“程付宝”
腾讯关联公司申请商标“QQ小世界”
B站关联公司申请“来夜宵吧”、“岁月如
京东关联公司申请 “京气省”、“京气神
美团关联公司申请“菜大全”商标